Special Fire Extinguishing Device

Fire extinguishing device for battery packs
Product Details

Special Fire Extinguishing Device

1. Product Introduction

The special fire extinguishing device for battery packs is based on military aerosol gas fire extinguishing technology. It is a new generation of miniature high-efficiency and rapid automatic fire extinguishing products that are suitable for power battery pack fires and are world-leading.


The special fire extinguishing device for the battery pack is normally stored without pressure. The fire extinguishing agent has the characteristics of moisture proof, temperature resistance and corrosion resistance. The device has an effective period of up to ten years, and is excellent in small size, portable and easy to use.


In the event of a fire, the device initiates or electrically starts through a passive temperature sensing, causing the fire extinguishing agent to act, rapidly generating a large amount of sub-nanometer solid phase particles and an inert gas mixture, that is, a hot aerosol with diffuse flow characteristics, standing within a few seconds.


The body is fully submerged and acts on every corner of the fire. It has fast, clean, efficient, safe and environmentally friendly fire extinguishing performance, which can effectively extinguish the space battery fire in the power battery.


2. Working Principle

Aerosol fire extinguishing is mainly to use a solid phase chemical mixture, that is, a hot aerosol generating agent, and a sub-nanometer aerosol particle with strong fire extinguishing property generated by chemical reaction, which acts on the fire extinguishing space in a full flooding manner, thereby reducing the temperature of the fire field and suppressing it. The action of burning free radicals and diluting the concentration of oxygen causes the flame to extinguish. Experiment box fire extinguishing process demonstration:



The aerosol fire extinguishing process consists of multiple mechanisms of action such as physics and chemistry:

1. Physical inhibition: The metal salt particles in the aerosol undergo physical processes such as hot melt and gasification at high temperature, absorb a large amount of heat, effectively reduce the flame temperature, and suppress the combustion reaction rate.

2. Chemical inhibition: Solid phase particles in the aerosol and decomposed metal ions or cations can adsorb the active groups in the combustion, and the hydrazine generates a chemical reaction, which consumes less combustion free radicals.

3. Reduce the concentration of combustion oxygen: The inert gas such as N2 and CO2 generated during the aerosol fire extinguishing process can reduce the oxygen concentration in the combustion to a certain extent, block the combustion reaction chain, and accelerate the fire extinguishing.


3. battery unit special fire extinguishing device product general indicators

Product use: The device can quickly extinguish A, B, C, E fires, power battery pack and 0.3 cubic small box, cabinet space fire. Class A - refers to solid material fire. Class B - refers to liquid or meltable solid Material fire. Class C - refers to gas fire. Class E - refers to a live fire.

Environmental performance: The device is suitable for ambient temperature -50 ° C to + 95 ° C (short time up to + 125 ° C), is a fixed fire extinguishing device, contains ozone destructive substances, less residue after eruption, green and environmentally friendly, the main product is Metal salts and inert gases, no biological toxicity.

Installation method: The device is fixed at the near protection center of the protective space with fixing parts.

Start mode: 1, the thermal line temperature is activated; 2, electric start.

Anti-interference: The device passes various tests and has temperature resistance, anti-corrosion, moisture-proof, anti-electromagnetic interference and arc interference performance.


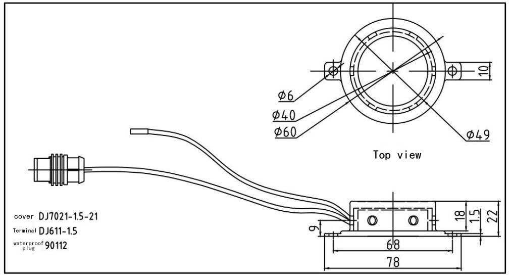
New energy battery pack special fire extinguishing device product plane size chart


Send your message to this supplier
* Email:
* To: Guangdong Superpack Technology Co., Ltd.
* Message

Enter between 20 to 4,000 characters.

WhatsApp
Haven't found the right supplier yet ? Let matching verified suppliers find you.
Get Quotation Nowfree
Request for Quotation

leave a message

leave a message
If you are interested in our products and want to know more details,please leave a message here,we will reply you as soon as we can.

home

products

about

contact